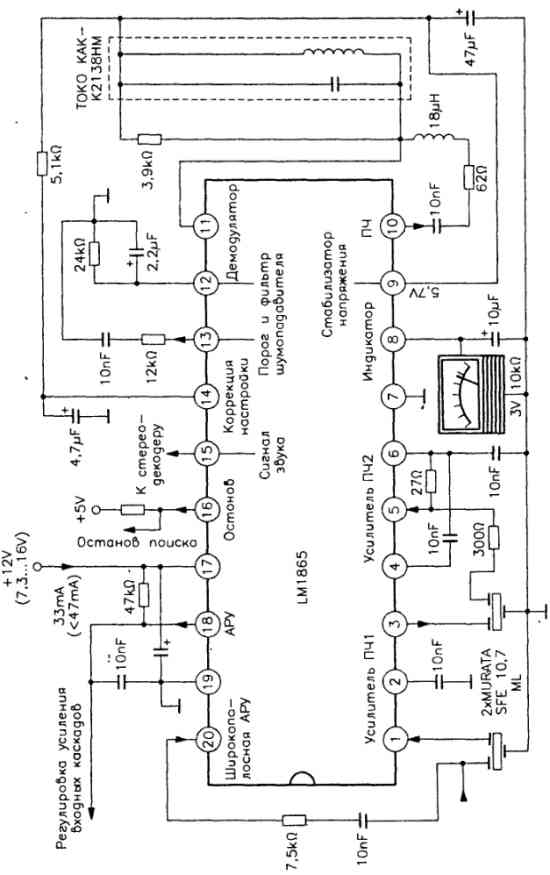
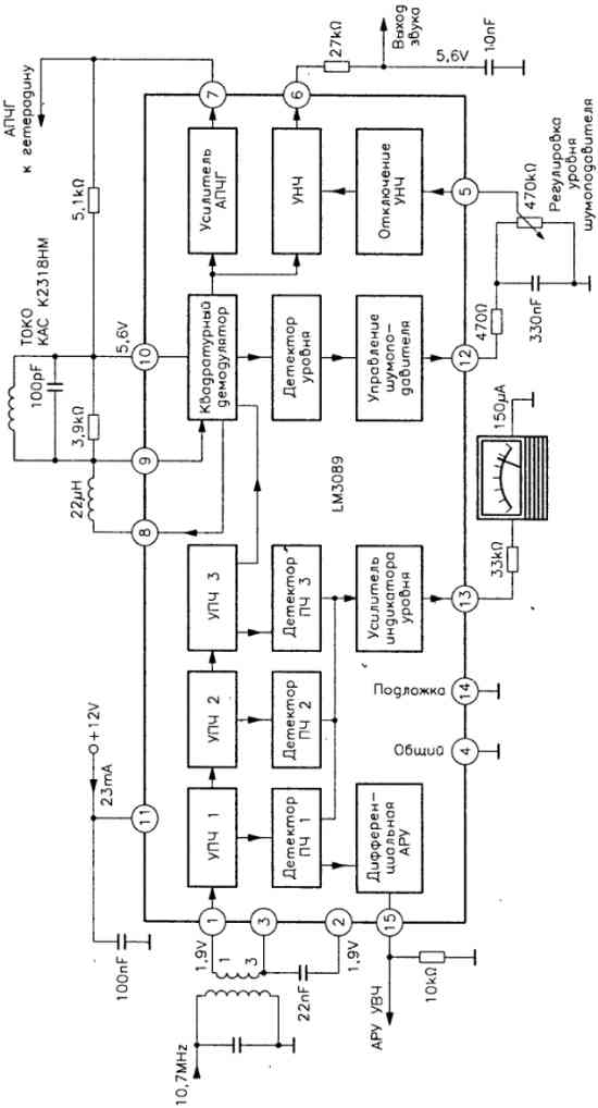
УПЧ 10,7 МГц и демодулятор на микросхемах LM1865 и LM3098
Коэффициент нелинейных искажений устройства не превышает 0,1%, отношение сигнал/шум более 70 дБ, предельная чувствительность 60 мкВ.

Порог ограничения устройства, представленного на рис. 14.14, составляет 12 мкВ. При уровне входного сигнала, равном 100 мкВ, сигнал на выходе звука 400 мВ, коэффициент нелинейных искажений не превышает 0,1%, отношение сигнал/шум 67 дБ.
